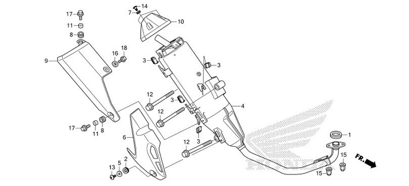
F-25 Exhaust Muffler

F-25 Exhaust Muffler
Filters
Set Descending Direction

15 Items

per page
View as Grid List
Filters
Set Descending Direction

15 Items

per page
View as Grid List