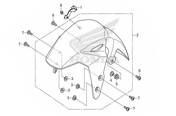
F-8 Front Fender