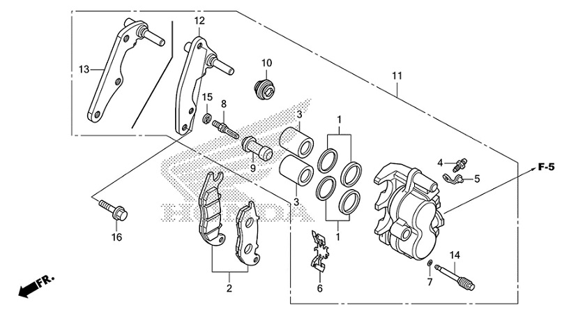
F-10 Front Brake Caliper

⚠️ We will be closed 11-17 April for Thai Buddhist New Year, There will be shipping delays for some orders during this period.

F-10 Front Brake Caliper
Filters
Set Descending Direction

17 Items

per page
View as Grid List
Filters
Set Descending Direction

17 Items

per page
View as Grid List