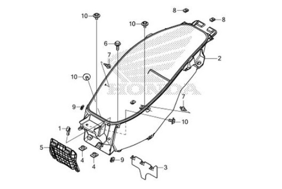
F-14 Luggage Box