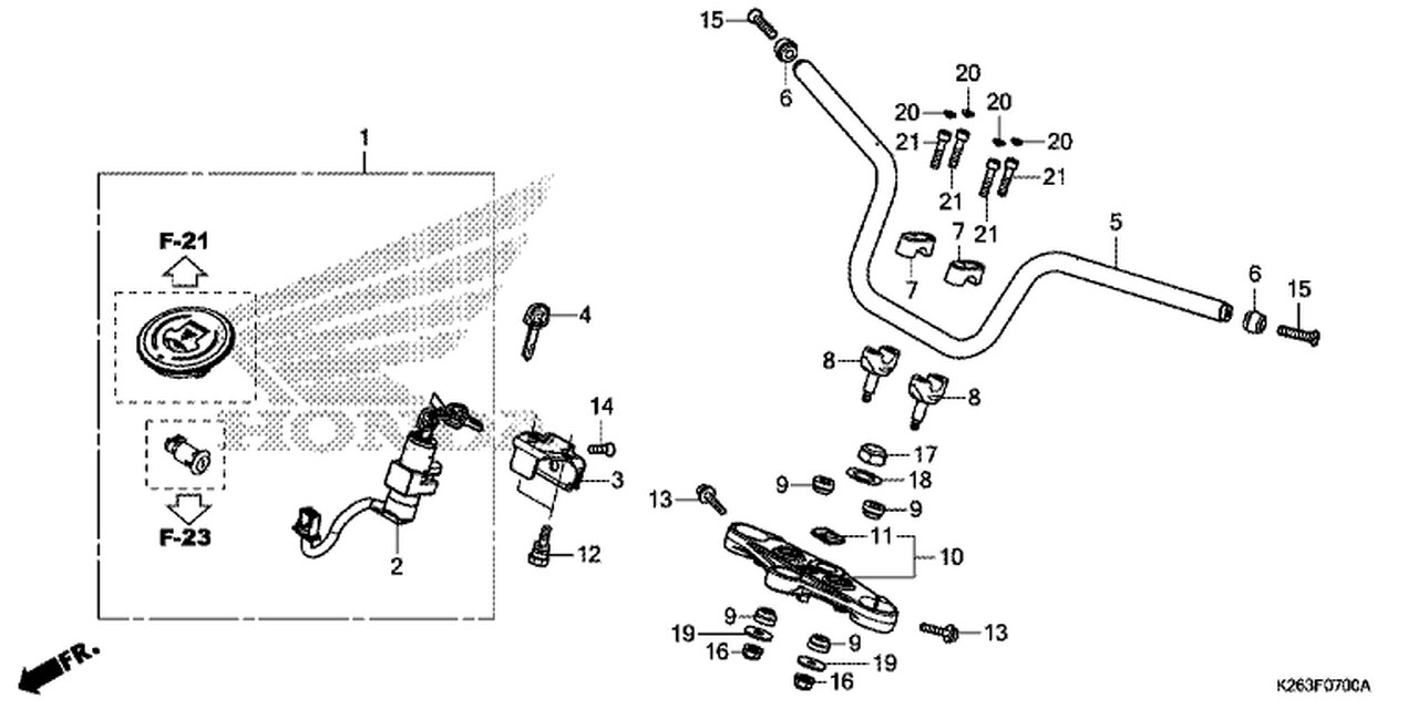
F-6 Handlebar

F-6 Handlebar
Filters
Set Descending Direction

20 Items

per page
View as Grid List
Filters
Set Descending Direction

20 Items

per page
View as Grid List