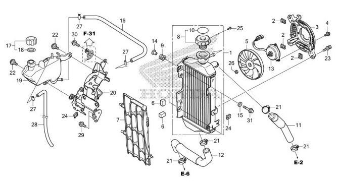
F-33 Radiator

F-33 Radiator
Filters
Set Descending Direction

29 Items

per page
View as Grid List
Filters
Set Descending Direction

29 Items

per page
View as Grid List