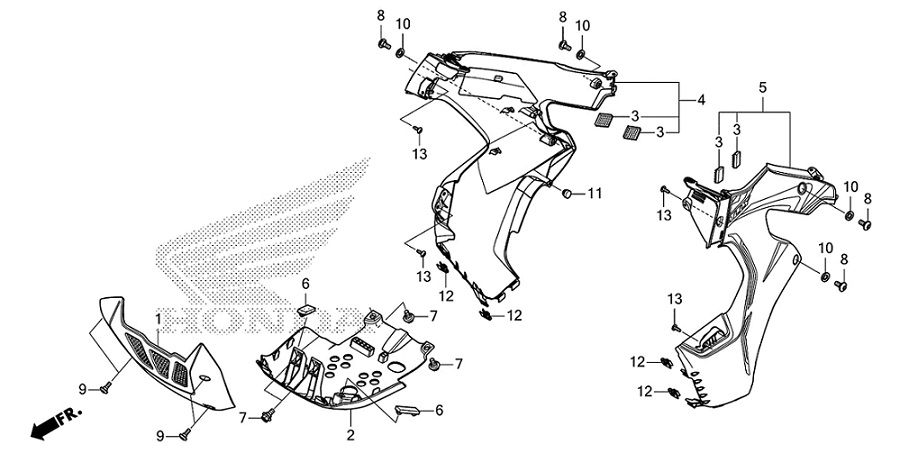
F-36 Middle Cowl

⚠️ We will be closed 11-17 April for Thai Buddhist New Year, There will be shipping delays for some orders during this period.

F-36 Middle Cowl