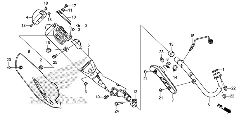
F-22 Exhaust Muffler

F-22 Exhaust Muffler
Filters
Set Descending Direction

24 Items

per page
View as Grid List
Filters
Set Descending Direction

24 Items

per page
View as Grid List